타일을 붙이기 전에는 먼저 어떻게 붙여나갈 것인지 계획을 세워야만 합니다. 이것을 줄눈 나누기라고 합니다.
■ 타일의 종류
타일의 줄눈은 시각에 직접적인 영향을 줍니다. 따라서 타일의 종류/ 색깔/ 치수/ 형상 등이 결정되면 실제 건물의 치수를 실측하여 확인하고 타일을 어떻게 붙여나갈 것인지 줄눈 나누기를 해야만 합니다.
줄눈 나누기의 절대적인 원칙은 없지만 가능한 한 전체 온장이 쓰일 수 있도록 계획하고 토막타일을 쓸 경우라도 반절 이하의 것은 쓰지 않도록 해야 합니다.
타일의 줄눈은 시각적인 이미지에 큰 영향을 미치기 때문에 가급적 눈에 잘 띄는 곳부터 온장으로 붙이는 것이 좋습니다. 따라서 욕실이라면 문이 열릴 때 시야에 먼저 들어오는 점을 기준으로 붙여나가도록 계획합니다.

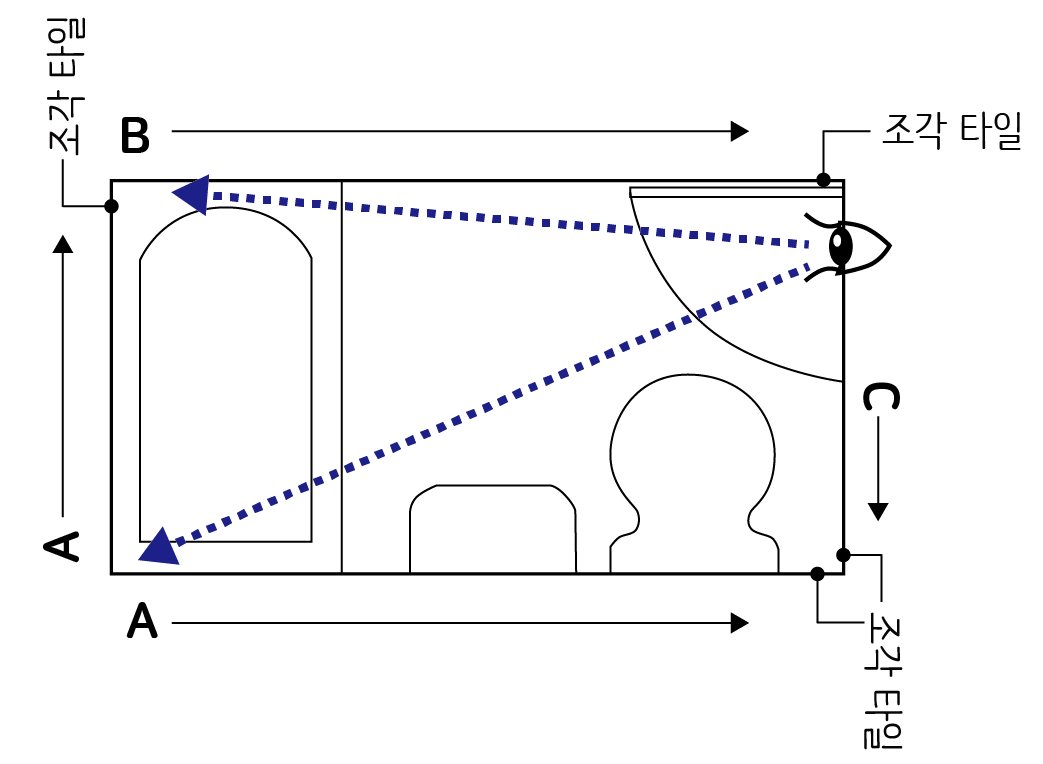
위 평면도에서 욕실 문을 열면 맨 처음에 보이는 곳은 A지점이나 B지점일 것입니다. 이 A지점이나 B지점부터 온장을 붙여나가면 눈에 잘 띄지 않는 곳에 조각 타일이 남게 될 것입니다.

위 사진을 보면 욕실 B지점에 해당하는 곳에 조각 타일이 붙어 있습니다. B지점부터 온장을 붙여나갔으면 더 낫지 않았을까 하는 생각이 듭니다.
또 욕조와 만나는 곳에 조각 타일이 붙여져서 눈에 거슬립니다. 욕조 윗면 레벨에 맞추어서 온장을 붙여나가는 것이 눈에 덜 거실립니다. 욕실 바닥에서는 온장 타일에 드레인이 위치하도록 배치하는 것이 좋습니다.

현관이나 발코니도 마찬가지로 눈에 제일 먼저 띄는 곳부터 온장을 붙여나가도록 계획하는 것이 좋습니다.


아래 사진을 보면 타일을 안쪽부터 붙여나오다보니 출입구 양쪽에 조각 타일이 붙여진 것을 볼 수 있습니다. 조각 타일이 많아지면 눈에도 거슬리지만 시공 품질에도 영향을 미치게 됩니다.

| 벽 타일 붙이기 공법 (0) | 2021.04.17 |
|---|